传感器

「李跳跳」被迫停更,APP开屏广告太不要脸

「李跳跳」被迫停更,APP开屏广告太不要脸

科技热搜 传感器 工信部 互联网 miui 品牌形象 新闻 资讯 直播 视频 美图 社区 本地 热点 2023-08-25

OPPO Watch 4 Pro官宣配备精钢表壳 采用寰宇曲面设计

OPPO Watch 4 Pro官宣配备精钢表壳 采用寰宇曲面设计

科技热搜 智能手表 手表 常亮 传感器 新闻 资讯 直播 视频 美图 社区 本地 热点 2023-08-25

《机器人总动员》的一键换色功能,被苹果带到了现实

《机器人总动员》的一键换色功能,被苹果带到了现实

科技热搜 专利 apple watch 传感器 手表 智能手表 新闻 资讯 直播 视频 美图 社区 本地 热点 2023-08-24

华为Watch Fit 2智能手表推送8月系统更新 还愣着干嘛?

华为Watch Fit 2智能手表推送8月系统更新 还愣着干嘛?

科技热搜 华为 智能手表 用户体验 手表 传感器 新闻 资讯 直播 视频 美图 社区 本地 热点 2023-08-23

商业地产的“大麻烦”:全球1/3办公桌整个工作日每一天都是“空的”

商业地产的“大麻烦”:全球1/3办公桌整个工作日每一天都是“空的”

科技热搜 写字楼 创始人 麦肯锡 传感器 首席执行官 新闻 资讯 直播 视频 美图 社区 本地 热点 2023-08-23

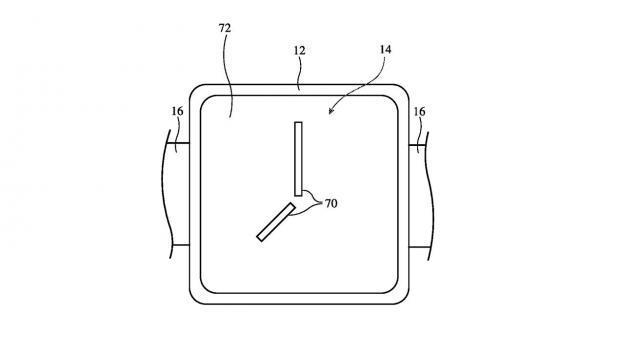
专利显示苹果Apple Watch有望实现“扫描用户穿搭”调整表盘配色

专利显示苹果Apple Watch有望实现“扫描用户穿搭”调整表盘配色

科技热搜 传感器 专利 手表 苹果公司 光和 新闻 资讯 直播 视频 美图 社区 本地 热点 2023-08-23

苹果 Beats Studio Buds  耳机推出星际银、星际粉两款新颜色

苹果 Beats Studio Buds 耳机推出星际银、星际粉两款新颜色

科技热搜 beats 音乐 it之家 主动降噪 传感器 新闻 资讯 直播 视频 美图 社区 本地 热点 2023-08-23

首款潜望式长焦iPhone,来了!

首款潜望式长焦iPhone,来了!

科技热搜 iphone 传感器 android 三星 小米 新闻 资讯 直播 视频 美图 社区 本地 热点 2023-08-23

iPhone15 Pro Max首发将推迟 又是供应商的锅?

iPhone15 Pro Max首发将推迟 又是供应商的锅?

科技热搜 传感器 供应商 iphone xr 摩根士丹利 苹果公司 新闻 资讯 直播 视频 美图 社区 本地 热点 2023-08-23

iPhone 15 Pro Max可能推迟至10月份上市 因一关键部件供应不及时

iPhone 15 Pro Max可能推迟至10月份上市 因一关键部件供应不及时

科技热搜 传感器 techweb iphone 12 5g 广角 新闻 资讯 直播 视频 美图 社区 本地 热点 2023-08-23