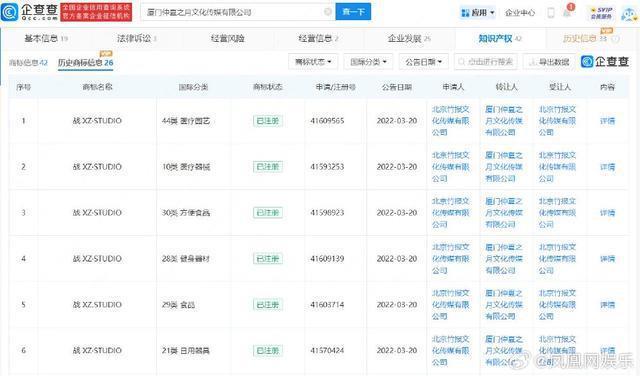
新浪娱乐讯 近日,肖伟、王力威(肖战经纪人)退出厦门仲夏之月文化传媒有限公司股东行列,退出前两人分别持股 20% 与 50%。股东变更后,方持慧成该公司唯一股东,最终受益股份从 "30%" 上升到 "100%"。据悉,该公司成立于 2019 年 9 月,注册资本 300 万元,经营范围包含电影和影视节目制作、文艺创作与表演、演出经纪业务等。此外,该公司已申请注册数十个 " 肖战 " 相关商标,并于 2022 年 3 月,将 26 枚 " 战 XZ · STUDIO" 转让给北京竹报文化传媒有限公司。




科技热搜 喜马拉雅 天猫精灵 手表 设备 韭菜 新闻 资讯 直播 视频 美图 社区 本地 热点 2023-08-07
科技热搜 华为 芯片 余承东 华为mate 雷蒙 新闻 资讯 直播 视频 美图 社区 本地 热点 2023-09-29
科技热搜 华为mate google pixel oppo find x iphone 新闻 资讯 直播 视频 美图 社区 本地 热点 2023-11-17
娱乐热点 造型 韩国 尺度 中国人 穿着 新闻 资讯 直播 视频 美图 社区 本地 热点 2024-02-04
娱乐热点 导演 a股 李产 股市 陈真 新闻 资讯 直播 视频 美图 社区 本地 热点 2024-01-18
历史题材:从“冷门”到“烫门”
娱乐热点 2024-03-13
娱乐热点 2024-03-13
娱乐热点 2024-03-13
娱乐热点 2024-03-13
娱乐热点 2024-03-13
娱乐热点 2024-03-13
娱乐热点 2024-03-13
娱乐热点 2024-03-13
娱乐热点 2024-03-13
娱乐热点 2024-03-13