北京小米移动软件有限公司成功获得了名为 "摄像头隐藏式电子设备及隐藏式摄像头" 的专利授权,这一消息显示在国家知识产权局官方网站上。这项专利的授权对于小米来说是一个重要的突破。据了解,该技术可以将摄像头隐藏在电子设备内部,使其不被察觉,保护用户的隐私安全。这对于手机、电脑等常见电子设备来说将是一项创新技术,为用户提供更加安全的使用环境。小米一直以来致力于技术创新和用户隐私保护,此次获得专利授权将进一步巩固其在移动通讯领域的领先优势。随着这项技术的推广应用,用户将能够更加放心地使用小米产品,享受更高水平的个人隐私保护。

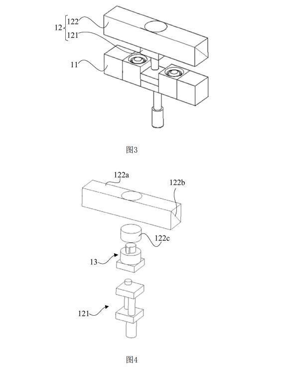
摘要显示,该电子设备由壳体、设在壳体内的摄像模组和可伸缩的反射组件组成,壳体上开设可供反射组件向壳体外伸出的开口,反射组件可将接收到的镜像反射到摄影模组上来成像,可以有效保护摄像模组、减小占用空间、提高像素。
IT 之家注意到,该专利中提到的申请背景如下:
电子移动终端设备的全屏显示已逐渐成为人们追求的趋势,而前置摄像头的设置往往会影响到全面屏的占屏比,因此,市面上出现了隐藏摄像头类型的电子设备。
但升降式摄像头受到空间的限制,像素较低,且摄像头的柔性电路板在滑动过程中也易受到损坏,升降的需求使所需的电路板长度也较长,成本较高,还具有较大的空间占比,使相机模组的空间利用率较差。
据专利附图显示,手机有望使前置、后置摄像头共用模组,且无需伸缩移动,能够提高摄像头的摄像性能。



科技热搜 喜马拉雅 天猫精灵 手表 设备 韭菜 新闻 资讯 直播 视频 美图 社区 本地 热点 2023-08-07
科技热搜 华为 芯片 余承东 华为mate 雷蒙 新闻 资讯 直播 视频 美图 社区 本地 热点 2023-09-29
科技热搜 华为mate google pixel oppo find x iphone 新闻 资讯 直播 视频 美图 社区 本地 热点 2023-11-17
娱乐热点 造型 韩国 尺度 中国人 穿着 新闻 资讯 直播 视频 美图 社区 本地 热点 2024-02-04
娱乐热点 导演 a股 李产 股市 陈真 新闻 资讯 直播 视频 美图 社区 本地 热点 2024-01-18
曾被卖出19万美元高价!这台初代iPhone太猛了
科技热搜 2024-03-13
科技热搜 2024-03-13
科技热搜 2024-03-13
科技热搜 2024-03-13
科技热搜 2024-03-13
科技热搜 2024-03-13
科技热搜 2024-03-13
科技热搜 2024-03-13
科技热搜 2024-03-13
科技热搜 2024-03-13