美国人为了解决电动车充电不便的问题,创造出了一种有趣的解决方案——“车体蜈蚣”。这一创意让电动车充电变得更加便捷。 近日,一张照片在社交媒体上引起了广泛关注。照片展示了一辆电动车,车体上安装了一系列充电接口,形成了一条条蜈蚣般的线路。这种充电方式被戏称为“车体蜈蚣”。 据了解,这种充电方式是美国一个创新团队研发出来的。他们意识到,电动车充电不便是许多电动车主面临的一个难题。而传统的充电设施并不能满足他们的需求。因此,他们决定试图找到一种更方便的充电方式。 通过在车体上安装多个充电接口,车主可以将车停放在任意位置,并将车体接口与充电桩连接起来。这样一来,车主无论身在何处,都可以方便地为车辆充电。 尽管这种充电方式在外观上较为复杂,但实际操作起来却非常简单。车主只需将车辆接口插入充电桩中,再将另一端与车体的充电接口连接即可,整个充电过程比传统的充电方式更加便捷。 “车体蜈蚣”充电方式的出现,无疑为电动车主提供了一种全新的充电体验。不少网友纷纷表示,这种创意十分有趣并且具有实用性。但也有人担心,车体上的充电接口是否会对车辆的结构造成影响。 尽管“车体蜈蚣”的充电方式还存在一些争议,但它却展示了人们对于改善电动车充电体验的努力和创新精神。这种创意的出现或许能够激发更多人对于电动车充电方式的思考和探索。
美国人为了抢充电桩,都闹出人命啦!
最近,美国科罗拉多州的两位特斯拉车主为争夺充电顺序,在超充站前大打出手,双方还都掏出了手枪,其中一人被对方击倒,最后因抢救无效死亡。
看来充电问题,既分高下,也决生死。

而在国内,五一期间四川雅安和浙江台州的个别服务站等待时长都高达 2.7 小时,所谓 " 充电 1 小时,排队 3 小时 " 还真没有夸张。
更别说最近几天天气炎热,要是再遇上占桩、插队什么的,难免会有点摩擦。
各大车企也该想想办法解决充电这个老大难问题了。

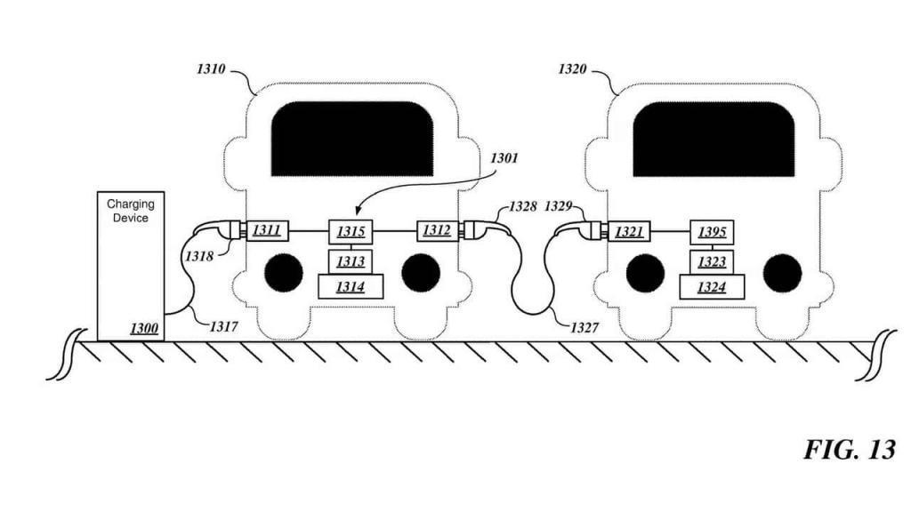
这不,根据美国专利商标局 ( USPTO ) 近期公布的消息,海外新势力 Rivian 在 2021 年底申请了一项关于电车充电相关的专利,有望应用在即将推出的纯电皮卡 R1T 和纯电 SUV R1S 上。
这项技术被称为 " 车对车的直通充电系统 " ,用于解决充电桩难找的问题。
这大概是个什么东西呢?其实就是一个 " 车体蜈蚣 " ,前一辆车吃了充电桩的电,再喂给后一辆。像这样,一个充电桩就可以接好几辆车。
咱们看下面这张图就明白了。

把车连在一起 ……等等,这不就是电车版的铁锁连环吗?曹老板看了都说妙。
虽然官方尚未透露 Rivian 最多能支持多少辆车相连,但就按一个桩充两辆车来算,也能让目前的充电桩容纳能力翻番了。
果真有这么厉害?

咱先别高兴太早,单个充电桩的功率可是有上限的啊。原先一辆车都要充好久,现在分两辆充,那就更慢了,对于着急赶路的司机来说,这玩意儿压根就没用。
而且,怎么去找其他的 Rivian 一起充啊?难道要在 Rivian 软件的世界频道上喊 CPDD ?万一对方充一半就提枪跑路,我又要找谁去收电费?我可不想吃一碗粉,付两碗钱。

而 " 铁索连环 " 这套玩法,其实也可以不需要充电桩,所以除了 Rivian ,大多数车企走的是另一条路。
比如 Rivian 的死对头特斯拉,说要在 Cybertruck 上实现 " 双向充电 " ,也就是国内常说的放电功能,能够支持两辆电车之间互相充电。
那以后咱要是在高速上没电了,就可以紧急联系一位特友过来江湖救急,果然玩车不是踩踩刹刹,还得讲个人情世故呐。

但先不说用车充车的速度会有多快,在高速上能摇到个朋友,概率也基本为 0 。
所以这个技术啊,国内更多是拿来露营煮个火锅什么的 ……

当然,想在充电问题上整花活,这些都还不算什么。
以色列公司 Electreon Wireless 更是大手笔,最近它和欧洲收费公路运营商 VINCI 达成合作,计划在巴黎西南部的 A10 高速公路上建设一段约 2 公里的无线充电道路,实现来往车辆边充边跑。
而且这还只是开始,这家公司的梦想,是让无线充电铺满整个法国,让电车彻底抛弃充电桩。
难道无线充电的时代真的要来临了吗?
恐怕还早的很。要知道,无线充电技术最大的问题是成本高,每公里的造价最低也要 100 万美元。
而像瑞典正在修建的世界首条无线充电高速公路,全长只有 1.6 公里,造价却高达 1250 万美元,更何况后续维护成本也不低,这么一算下来简直就是天文数字。
当然这笔钱嘛,最后还是得转嫁给普通消费者。这个技术要是没有政府兜底,一般老百姓还真不敢用呐。
而在国内,像是杭州亚运会采用的则是一种性价比更高的无线充电模式,也就是无线充电站,只需要一小块设备,就能满足车辆即停即充,比前面的方案要靠谱多了。

但就算抛开经济性不谈,无线充电的效率问题,稳定性问题,都还有待优化,远没能达到大规模应用的程度。
那这么说来,相比上述这些充电姿势,比亚迪腾势的 " 双枪快充 " 技术可能还更实用一点,毕竟两张嘴吃电,怎么也吃得更快一些。
只不过有点费桩位

更不必说,论快还有蔚来的换电站,只要 5 分钟,就能把掏空的身子补回来。
哦?蔚来又赢麻了。
科技热搜 喜马拉雅 天猫精灵 手表 设备 韭菜 新闻 资讯 直播 视频 美图 社区 本地 热点 2023-08-07
科技热搜 华为 芯片 余承东 华为mate 雷蒙 新闻 资讯 直播 视频 美图 社区 本地 热点 2023-09-29
科技热搜 华为mate google pixel oppo find x iphone 新闻 资讯 直播 视频 美图 社区 本地 热点 2023-11-17
娱乐热点 导演 a股 李产 股市 陈真 新闻 资讯 直播 视频 美图 社区 本地 热点 2024-01-18
娱乐热点 造型 韩国 尺度 中国人 穿着 新闻 资讯 直播 视频 美图 社区 本地 热点 2024-02-04
曾被卖出19万美元高价!这台初代iPhone太猛了
科技热搜 2024-03-13
科技热搜 2024-03-13
科技热搜 2024-03-13
科技热搜 2024-03-13
科技热搜 2024-03-13
科技热搜 2024-03-13
科技热搜 2024-03-13
科技热搜 2024-03-13
科技热搜 2024-03-13
科技热搜 2024-03-13