
被 " 提纯 " 的私域流量好用吗
撰文/ 星晚
编辑/ 李觐麟
近日,韩国放送公社 KBS 起诉 B 站侵权,相关案件将于 10 月 11 日和 11 月 8 日在上海市杨浦区人民法院开庭审理。
事实上,无论是 " 搬运 " 还是 " 二创 ",都近些年使得 B 站频频陷入侵权纠纷。向 B 站追责的对象,既有爱奇艺、网易等一众互联网平台,也有以中超联赛、中职篮为代表的职业体育联赛等,还有尚雯婕、葛优等艺人。
但 B 站的二季度财报还是很漂亮的,总营收达 53.04 亿元,同比增长 8%。为实现降本增效的一些举措,看起来也已经奏效。与此同时,B 站也开始了对流量与变现的新思考,广告、带货或将成为其新的关键词。
频频坐上被告席
" 收藏夹里好多综艺都消失了,我的快乐没有了。" 准大一的何琪从拥有个人手机之后就成为了 B 站的重度用户。虽然平时不太看番剧,但 B 站上的 Kpop(韩国流行音乐)内容却一直吸引着何琪。
何琪的 B 站关注列表中,几乎都是 " 搬运 " 和 " 二创 "Kpop 视频的博主。" 以前哪怕是冷门的韩综,都能够找到及时搬运的博主。热门的如《无限挑战》《RUNNING MAN》《两天一夜》《新西游记》更是有大量的博主第一时间搬运,我通常会选择其中弹幕最多的来看,下饭搭子。" 何琪说到。
不过最近,这些视频在 B 站上几乎看不到了,即便有,也只是很短的碎片视频。这或许与韩国放送公社起诉 B 站侵权一案有关。据报道,近日,B 站关联公司上海宽娱数码科技有限公司新增两则开庭公告,原告为韩国放松公社 KBS,案由均为侵害作品信息网络传播权纠纷,两案将于 10 月 11 日、11 月 8 日在上海市杨浦区人民法院开庭受理。
2021 年,韩国另一放送株式会社 MBC 电视台也曾以 " 著作权权属、侵权纠纷 " 为案由起诉过 B 站。

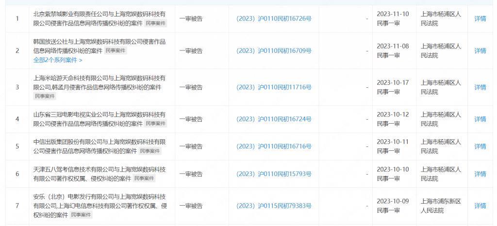
B 站部分有关侵权的法律诉讼 图源:企查查
关于侵权这件事,B 站一直深陷围城。一边是 UP 主 " 搬运 "" 二创 " 带来的社区活跃度,另一边则是不断缠上身的官司。
仅今年以来,B 站就频频坐上被告席位。2 月,尚雯婕和北京黑方金圆文化传媒有限公司新增名誉权纠纷案件开庭公示,B 站关联公司为被告之一;同月,北京互联网法院向 B 站关联公司上海幻电信息科技有限公司公告送达起诉状副本、开庭传票等,关联案件为葛优与该公司网络侵权责任纠纷;6 月,美商 NBA 产物股份有限公司、中超联赛有限责任公司追责 B 站;7 月,杭州网易云音乐科技有限公司起诉 B 站,案由为侵害作品信息网络传播权纠纷。
这样的形式也展现出 B 站的困境,"UP 主 " 们 " 二创 " 带来的日活用户数、月活用户数虽然可观,但变现能力有限。二季度财报显示,B 站正式会员数达 2.14 亿,正式会员第 12 个月留存率稳定在 80%,曾被 B 站重视的用户增长,如今已经进入平稳发展期。
如何继续推动商业化进程,则是 B 站当前的新课题。
B 站带货的未来形态是怎样的?
在 B 站 14 周年庆直播中,CEO 陈睿宣布 B 将之后将以统计播放分钟数替代 B 站播放次数作为外显数据。到了前几日,B 站又对部分 UP 主开启播放时长指数内测。
这些变动的产生,让不少 UP 主开始了一番重新思考。直白地以商业变现角度来说,这两项指数都会影响到合作品牌对 UP 主的选择与传播效果的审视。

哔哩哔哩 14 周年庆
但从 B 站的近期动态来看,为了得到更显著的收入增长,B 站一直在刷新自己的 " 种草 " 能力和交易能力。
具体的措施是,今年 6 月,B 站进行了一次组织架构调整,整合了多个团队,成立新的一级部门交易生态中心,目的就是加强公司在商业化交易方面的基建。随后在 618 大促期间,B 站推出 " 星火计划 ",基于 B 站与阿里淘宝联盟的合作,通过数据分析实现种草链路的可量化。
除此之外,各路平台都垂涎的直播带货业务也被 B 站提上了日程。第二季度,B 站上通过直播带货和视频带货获得收入的 UP 主人数同比增长超 220%。
不少 B 站用户也发现,首页推荐的广告大量增加,一不小心就会误点广告视频。因此已有不少用户对此开始吐槽,表示 " 如果是看这类赤裸裸的带货视频,我为什么打开 B 站呢?"
这也正是 B 站当前在直播带货业务上探索时需解决的一大问题,社区与商业化之间的平衡是一项艰巨的挑战,做到既满足社区用户的调性,又满足商业化变现的规则,或许是 B 站带货的未来形态。
事实上,B 站内容的生产成本较高,用户与 UP 主之间的 " 羁绊 " 很深,能够被量化的平台粉丝数实际上已经是被 " 提纯 " 的私域流量。加上 B 站去中心化的推荐机制,更是进一步巩固了 UP 主的私域流量池。
这意味着,B 站直播带货从根本上与淘宝、抖音、快手等平台走的路径不同。今年 618 期间,拥有 448 万粉丝的 B 站 " 百大 UP 主 " 宝剑嫂开播首日单场 GMV 为 2800 万,明显与其他平台头部博主的带货成绩有着差距。
不过 B 站的决心可见一斑。第二季度中,B 站游戏业务收入为 8.9 亿人民币,IP 衍生品及其他业务收入为 5.4 亿元,同比减少 10%。
B 站副董事长兼 COO 李旎也在电话会议中表示,"B 站全年广告收入有望实现同比 25 到 30% 的增长,双 11 大促期间来自电商行业的广告收入预计同比增长 50 到 60%。"
看来,进一步提高广告与带货业务的营收占比,将是 B 站未来的主题曲。
硬核内容网站要找到自己的带货风格
今年的带货市场可谓热闹非凡。据 " 电数宝 " 电商大数据库显示,今年上半年,直播电商交易规模约为 19916 亿元,预计全年交易规模达到 45657 亿元,同比增长 30.44%。同时,直播电商竞争格局不断变化,东方甄选、交个朋友先后 " 上市 ";谦寻、宸帆等 MCN 机构陆续拿地盖楼。
今年上半年,直播电商交易额渗透率约为 27.8%,全年预计达 31.9%,增长率为 26.08%,增速趋缓。直播电商用户规模约为 5.2 亿人。全年用户规模预计达 5.4 亿人,同比增长 14.16%,增速上涨。2018 — 2022 年直播电商人均年消费额为分别为 296.95 元、1775 元、2822.58 元、4639.68 元、7399.58 元。
近年来,直播电商成为了不少企业的新增长点,因此 B 站想要新增这条营收业务也是自然而然的事。不过,这次转型对于不少老用户来说,仍然是一件难以适应的事。

用户对 B 站带货的观感
锌刻度从微博、小红书等平台看到有用户评价 B 站:" 有点小失望,本来以横屏出彩的 B 站,硬是直愣愣地竖屏带货,一个做硬核内容的网站想要找到自己的带货风格,任重道远吧 "。
的确如此,相较于其他平台,B 站过去的发展一直强调内容的纵深开发,用户的粘性培养。但跨界直播带货业务之后,选品价格、推送机制、用户消费力都很难有优势。
B 站的商业化之路一直广为讨论,如今广告与带货业务的增长的确也能够带来一定的发展活力,然而从长远来看,直播带货虽火,但这块蛋糕几乎已被巨头瓜分殆尽,B 站的入局如果讲不出更新的故事,那么可能很难持续带来增长。
科技热搜 喜马拉雅 天猫精灵 手表 设备 韭菜 新闻 资讯 直播 视频 美图 社区 本地 热点 2023-08-07
科技热搜 华为 芯片 余承东 华为mate 雷蒙 新闻 资讯 直播 视频 美图 社区 本地 热点 2023-09-29
科技热搜 华为mate google pixel oppo find x iphone 新闻 资讯 直播 视频 美图 社区 本地 热点 2023-11-17
娱乐热点 造型 韩国 尺度 中国人 穿着 新闻 资讯 直播 视频 美图 社区 本地 热点 2024-02-04
娱乐热点 导演 a股 李产 股市 陈真 新闻 资讯 直播 视频 美图 社区 本地 热点 2024-01-18
曾被卖出19万美元高价!这台初代iPhone太猛了
科技热搜 2024-03-13
科技热搜 2024-03-13
科技热搜 2024-03-13
科技热搜 2024-03-13
科技热搜 2024-03-13
科技热搜 2024-03-13
科技热搜 2024-03-13
科技热搜 2024-03-13
科技热搜 2024-03-13
科技热搜 2024-03-13