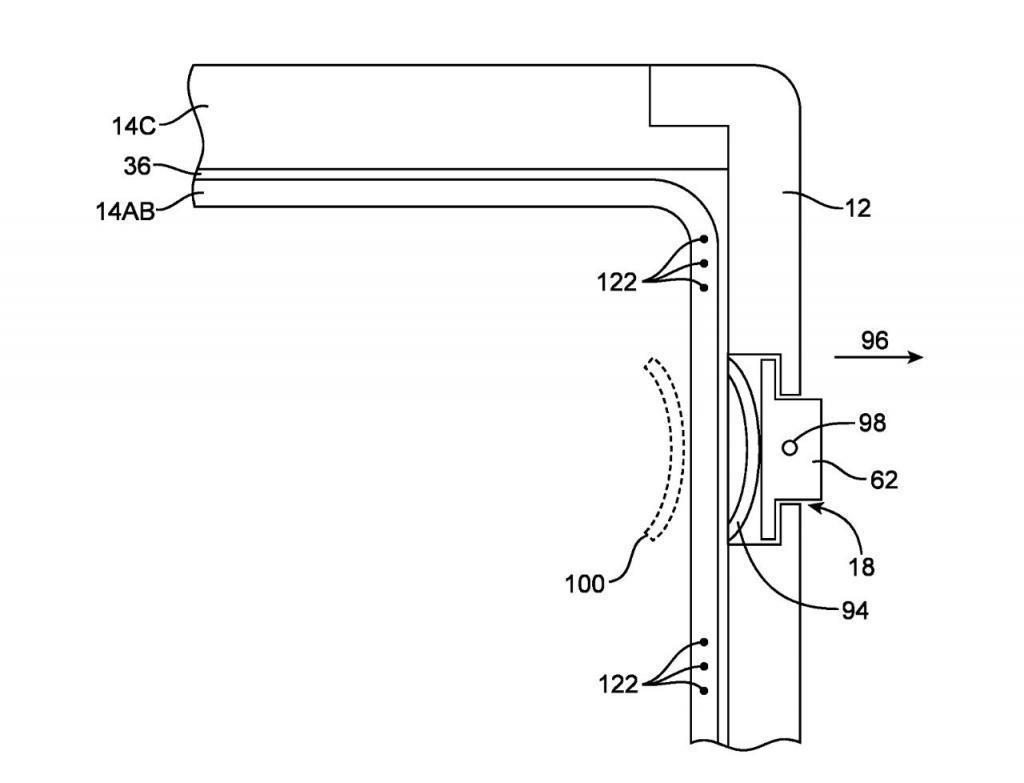
IT 之家 9 月 22 日消息,根据美国商标和专利局(USPTO)公示的清单,苹果获得了一项 iPhone 专利,在机身侧面装上一个 "Touch Bar",用于显示电量等信息,并支持相关的交互操作。

IT 之家注:这项专利最早于 2011 年提交,并于 2014 年获得批准。苹果公司在此前专利到期之后,于 2023 年 4 月再次申请了该专利,于近日再次获得批准。
该专利名为 " 带侧壁显示的电子设备 ",描述在 iPhone 侧面配有 OLED 或者其它柔性屏幕类型。

相比较苹果此前提交的环绕型 iPhone 专利,这种方案相对来说更容易实现,在机身侧面装有 Touch Bar,用户可以通过触摸敏感部分或者查看屏幕进行交互。
交互元素包括媒体控件、显示信息,来电者信息和部分系统控制等等,该屏幕还支持手势,进一步增强交互体验。


科技热搜 喜马拉雅 天猫精灵 手表 设备 韭菜 新闻 资讯 直播 视频 美图 社区 本地 热点 2023-08-07
科技热搜 华为 芯片 余承东 华为mate 雷蒙 新闻 资讯 直播 视频 美图 社区 本地 热点 2023-09-29
科技热搜 华为mate google pixel oppo find x iphone 新闻 资讯 直播 视频 美图 社区 本地 热点 2023-11-17
娱乐热点 导演 a股 李产 股市 陈真 新闻 资讯 直播 视频 美图 社区 本地 热点 2024-01-18
娱乐热点 造型 韩国 尺度 中国人 穿着 新闻 资讯 直播 视频 美图 社区 本地 热点 2024-02-04
曾被卖出19万美元高价!这台初代iPhone太猛了
科技热搜 2024-03-13
科技热搜 2024-03-13
科技热搜 2024-03-13
科技热搜 2024-03-13
科技热搜 2024-03-13
科技热搜 2024-03-13
科技热搜 2024-03-13
科技热搜 2024-03-13
科技热搜 2024-03-13
科技热搜 2024-03-13