
文 | 陈根谈科技
9 月 14 日,权威医学期刊《Nature》发表题为《人造子宫的人体试验可能很快就会启动》的文章。
文章中提到,2017 年,宾夕法尼亚州费城儿童医院宣布完成了人造子宫羊体外培育实验。当时,费城儿童医院的人造子宫已经让 8 个山羊胎正常发育了一个月。如今,宾夕法尼亚州费城儿童医院的研究人员正在寻求批准他们第一个人体临床试验,名为 " 新生儿发育子宫外环境 ",也就是人造子宫。
一周后,9 月 19~20 日,美国食品药品监督管理局(FDA)召开独立顾问会议,讨论是否应该批准全球首个人造子宫技术的人体临床试验。这次讨论在世界范围内备受瞩目。
人造子宫呼之欲出,机器代孕时代,这就来了吗?在人造子宫技术到来前,我们还需要解决什么问题?
人造子宫酝酿多年
事实上,在 FDA 讨论人造子宫可行性之前,人造子宫就已经酝酿多年。当然,此前,人造子宫更多的是出现在科幻作品中。
在《逃出克隆岛》中,克隆人在一个类似于培养皿的大型容器中刺激生长。容器为克隆体提供营养以及适宜的温度,如同母体。
经典科幻《第六日》中,克隆人就是从巨大的人工羊水池子里培养出来的,而且生长速度很快,能够免去幼年、青少年时期的发育过程,直接成长为健康的成年人类,再输入记忆,即可获得成年人几十年生活中获得的技能。
风靡全球的《黑客帝国》,则向我们描绘了人类幼体在类似于蚕茧的空间孕育生长的设定。
著名的反乌托邦小说《美丽新世界》里,作者也提出了人造子宫的设想,在人类社会的 2532 年,基因技术高度发达,生孩子的故事完全由生命工厂负责。在一条条生命流水线上,首先进行基因设计,然后是克隆,最后小孩在人造子宫中发育成长。
在无数科幻作品中,对于未来的生殖辅助技术,大多数作者的描述都指向同一个蓝图——体外生殖,即人造子宫。在这些作品中,人造子宫完全取代了温暖的母体,成了孕育人类的摇篮。
从技术角度来看,早在 1923 年,霍尔丹在剑桥大学举行的一次讲座中首次对人造子宫进行深入探讨后,各国科学家就开始研究胚胎脱离母体生长的可能性。
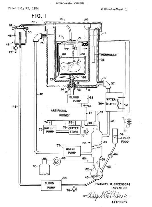
1954 年,伊曼纽尔 · 格林伯格首次设计了人造子宫的装置并申请了专利。设计包括一个用来放置充满羊水的胎儿的水箱、一个连接到脐带的机器、血泵、一个人造肾脏和一个热水器。不过,这仅仅是一个粗糙的设想。

直到 2001 年,人造子宫技术终于有了新的突破——美国华裔学者刘鸿清就成功创建了首个 " 人造子宫 "。
刘鸿清是康奈尔大学生殖医学和不育症研究中心下属的生殖与内分泌实验室的负责人。起初,她和同事只是试图创造出一个更好的人造环境,以研究子宫细胞如何发育以及如何互相影响,从而治疗女性的不育症。就在对子宫细胞发育的研究中,他们创造了第一个起作用的人造子宫。
为了达到研究目的,刘鸿清团队首次从捐赠的卵泡膜细胞中创造出蜂窝状的结构。蜂窝一旦构建完成,其结构中的空隙就会由颗粒细胞连同卵母细胞填满。仅在几天之内,人造蜂窝状结构就能包裹住卵细胞,从本质上成为一个功能正常的子宫。它能刺激细胞发育成特定的形状和结构,使未成熟的卵子发育至成熟——就像任何一个健康的子宫能做的那样。
遗憾的是,这个结构只能携带卵子至成熟。至于更为复杂的胚胎着床,还远远做不到。因为胚胎在着床时,像植物的根一般发射生长的血管会轻而易举地穿透这薄纸一般的结构,然后因为无法汲取养分而迅速枯萎。
刘鸿清尝试将几层组织逐层叠加在一起,直到成为一个立体模型,也就是一个独立的、不依靠任何支撑的子宫雏形。终于,胚胎能够在这结构上成功附着生长了。胚胎穿透人造子宫的内膜,放射生长出血管。然后它们开始吸取养分,并且排出代谢废物,继而分裂、分化,茁壮成长。
从动物实验到人体实验
人造子宫进一步被大众认识到还是在 2017 年。
这一年,费城儿童医院的阿南 · 弗雷克(Alan Flake)团队在《自然通讯》杂志上发表了 " 人造子宫 " 动物试验成果,研究人员宣布,他们成功将发育到中期(相当于人类妊娠周期 22-24 周)的早产山羊胎儿在 " 人造子宫 " 中维持了 4 周撑过危险期顺利存活。弗雷克还将胎龄更小的羊(105 至 108 天)在体外成功培育了 4 周(最终因动物协议的限制而停止)。

这种人造子宫就类似现在的生物袋,里面不仅有羊水、血液循环系统,以供给胎儿养分和氧气,还可能模拟母亲自然子宫的无菌、温暖和富有弹性的条件。
而 2019 年,人造子宫的实现更近一步。这一次,荷兰埃因霍温理工大学和荷兰 M á xima 医疗中心的研究团队获得了来自欧盟 " 地平线 2020 计划 " 拨出的 290 万欧元(约合人民币 2320 万元),用于在 5 年内建造一个可运行的人造子宫原型。根据外媒报道,这款人造子宫充满类似羊水的液体,自带血液循环系统。胎儿脐带会和人工胎盘相连,从而接受氧气和营养物质。此外,研究小组将在人造子宫上安装各种传感器,以模拟母体的体温和心跳。
2022 年,甚至有科学家提出了人造子宫工厂—— Ectolife 项目。在 Hashem Al-Ghaili 创作的 8 分钟短片里,Ectolife 为大众全面展示了人体子宫的强大功能:75 个最先进的实验室,每个实验室多达 400 个人造子宫,完全复制女性体内环境,一个设施每年可以孵化 3 万名婴儿。从受精卵开始,每个婴儿都是通过体外受精 ( IVF ) 受孕,允许父母自由地 " 选择最有活力和遗传优势的胚胎 ",他们的婴儿也将在没有任何生物学障碍的情况下发育和生长。
不管承认与否,在今天,我们已经无法忽视人造子宫技术的存在。人造子宫确实许诺了我们巨大的好处。比如,用于因子宫受损而无法自然受孕的女性,还可以为想要孩子但不想通过受孕这一方式、或同性夫妇带来孕育生命的可能性。
互联网调查显示,八成以上的网友对 " 人造子宫 " 表示支持,其中大多为女性,她们认为人造子宫,能减轻怀孕分娩带来的身体消耗;而男性群体也表示,若人造子宫真能实现,将会为他们大大降低结婚生子的成本。
此外,人造子宫还可被用来挽救人类的早产儿方面。世界卫生组织将早产定义为妊娠 37 周之前出生,可能是自然发生,也可能是因为某些情况(例如感染、激素失衡、高血压或糖尿病)导致子宫变成不适合胎儿生存的环境。早产是一个巨大的全球健康问题,是五岁以下儿童死亡和残疾的最大原因。2020 年,全球约有 1340 万例早产,2019 年与早产相关的并发症导致约 90 万人死亡。而人造子宫技术作为一种能够提供更接近自然子宫环境的孵育条件的技术,有望改善早产儿的生存率和生活质量。
人造子宫基于了人类生殖一条新的可能路径,甚至有望帮助数千万早产儿的生命,这也是为什么 FDA 会讨论人造子宫可行性的重要原因之一。
我们离人造子宫还有多远?
当前,就人造子宫可行性的讨论受到了世界范围内广泛的关注,但人造子宫想要真正进入人体试验,显然还需要面对诸多问题。
最重要的,就是人造子宫安全性问题。对于此,FDA 儿科咨询委员会此前已经公开了一份简报文件,提出了 4 项最为主要的议题。
首先,需要考虑动物试验的基础是否足够。由于物种之间存在差异,动物试验需要包括关键器官系统的发育和成熟作为有效性终点,同时还需要将血液相容性(溶血、出血、血栓)、临床生化稳定性、组织损伤、器官功能障碍、死亡等作为安全性终点。此外,试验需要具备足够的样本量、持续时间、临床使用时间、风险评估、历史先例、探索性数据安全性、器械性能、人为因素的生理评估,以及临床病理和组织病理学评估。
其次,必须评估目前的临床数据是否足以支持风险评估。考虑到现有的动物模型和临床数据有限,需要考虑将一些早产儿结局临床研究纳入风险评估参考。比如,最新的文献支持外部膜肺氧合(ECMO)可以降低新生儿颅内出血的发生率,但早产儿的出血率仍然高于足月婴儿。在出生后过渡到人造子宫期间的血流动力学稳定性也需要考虑在内。
第三,必须处理知情同意和儿童保护问题。由于试验对象是早产儿,只有在能够证明风险极小的情况下,才能参与试验。必须提供直接的临床效益前景、合理的风险预期,以及至少一种替代疗法,并获得监护人的许可。此外,父母可能会对疗法了解不足、情绪不稳定、承受心理压力,因此需要由研究者、外科医生、新生儿医生和生物伦理学家共同设计研究,并进行充分的告知。
最后,就是安全监测问题。在人体试验中,应特别关注胎儿围生期死亡、早产儿的关键疾病、住院期死亡等不良事件。FDA 预计,最初将只招募和治疗一名受试者,随后可能逐步增加其他受试者,包括预后较好的婴儿,以评估生存和长期神经发育等结果。
除了技术安全性问题外,人造子宫想要真正走向应用,更大的挑战还在于伦理上的争议。曼彻斯特大学的律师伊丽莎白 · 克洛伊 · 罗曼尼斯探讨了人造子宫的生物伦理学,她认为,这项技术会引起一些疑惑,比如谁该被选为实验对象?被测试的胎儿在人造子宫中又会受到怎样的长期影响?
此外,倘若人造子宫真的问世并被应用,父母的职责会发生什么变化?父母与子女的联系是否会大为削弱?当前人类借以延续人类文明的传宗接代观念还会继续存在吗?一旦 " 人造子宫 " 与克隆技术结合,同性恋也会有属于自己的孩子,那性别角色在我们的社会中还会存在吗?
此外,在人造子宫技术之下,又该如何定义胎儿?传统概念上女性有权终止妊娠时,是指与胎儿在肉体上分离的权利,还是指不成为生物学上亲生母亲的权利?这些问题既有伦理意义,也有法律意义。
FDA 儿科治疗办公室的首席新生儿学家安 · 马萨罗(An Massaro)在委员会会议上说:" 最具挑战性的问题是,有多少未知是可以接受的。" 随着这项研究走出实验室,迈向首次人体试验,监管机构将不得不解决这个问题。
科技热搜 喜马拉雅 天猫精灵 手表 设备 韭菜 新闻 资讯 直播 视频 美图 社区 本地 热点 2023-08-07
科技热搜 华为 芯片 余承东 华为mate 雷蒙 新闻 资讯 直播 视频 美图 社区 本地 热点 2023-09-29
科技热搜 华为mate google pixel oppo find x iphone 新闻 资讯 直播 视频 美图 社区 本地 热点 2023-11-17
娱乐热点 造型 韩国 尺度 中国人 穿着 新闻 资讯 直播 视频 美图 社区 本地 热点 2024-02-04
娱乐热点 导演 a股 李产 股市 陈真 新闻 资讯 直播 视频 美图 社区 本地 热点 2024-01-18
曾被卖出19万美元高价!这台初代iPhone太猛了
科技热搜 2024-03-13
科技热搜 2024-03-13
科技热搜 2024-03-13
科技热搜 2024-03-13
科技热搜 2024-03-13
科技热搜 2024-03-13
科技热搜 2024-03-13
科技热搜 2024-03-13
科技热搜 2024-03-13
科技热搜 2024-03-13