IT 之家 12 月 29 日消息,据财联社报道,接近北汽新能源的人士今日透露称,华为与北汽智选模式合作的样车已经 " 出炉 "。该车定位中大型纯电轿车,有望 2024 年上半年发布。



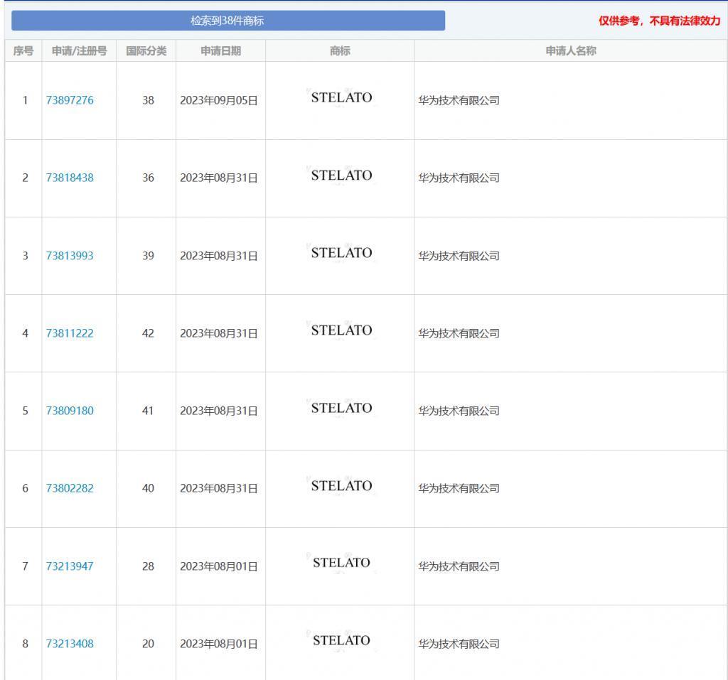
国家知识产权局商标局 1865 期商标公告显示,华为技术有限公司近日向北汽新能源汽车股份有限公司转让多枚 "STELATO" 商标,转让 / 移转申请已被核准。继问界、智界后,华为智选模式下的第三个 " 界 " 即将浮出水面。
据消息人士透露,STELATO 是华为与北汽智选品牌的英文名称,与问界、智界分别对应的 AITO、LUXEED 一样。
STELATO 中文意为 " 繁星、星空 ",由华为于今年 7 月 7 日提出注册申请,7 月 21 日获受理通知书发文。
据 IT 之家此前报道,华为技术有限公司在 11 月申请了多个 " 界 " 字商标,包含尊界、擎界、骋界。此外,还有一个名叫 " 望舒 " 的商标,其分类也是运输工具。" 望舒 " 在中国神话故事中指的是为月亮驾车的女神,也被借指月亮。




在此之前华为曾申请过 " 问界 "" 智界 "" 勇界 "" 慧界 "" 筑界 "" 傲界 "" 知界 "" 羿界 " 等一系列商标,华为常务董事、终端 BG CEO、智能汽车解决方案 BU 董事长余承东曾在今年广州车展期间表示,继问界、智界之后,还会有两个 " 界 ",分别来自北汽和江淮。
科技热搜 喜马拉雅 天猫精灵 手表 设备 韭菜 新闻 资讯 直播 视频 美图 社区 本地 热点 2023-08-07
科技热搜 华为 芯片 余承东 华为mate 雷蒙 新闻 资讯 直播 视频 美图 社区 本地 热点 2023-09-29
科技热搜 华为mate google pixel oppo find x iphone 新闻 资讯 直播 视频 美图 社区 本地 热点 2023-11-17
娱乐热点 导演 a股 李产 股市 陈真 新闻 资讯 直播 视频 美图 社区 本地 热点 2024-01-18
娱乐热点 造型 韩国 尺度 中国人 穿着 新闻 资讯 直播 视频 美图 社区 本地 热点 2024-02-04
曾被卖出19万美元高价!这台初代iPhone太猛了
科技热搜 2024-03-13
科技热搜 2024-03-13
科技热搜 2024-03-13
科技热搜 2024-03-13
科技热搜 2024-03-13
科技热搜 2024-03-13
科技热搜 2024-03-13
科技热搜 2024-03-13
科技热搜 2024-03-13
科技热搜 2024-03-13