IT 之家 1 月 21 日消息,宝马汽车公司最近提交了一项新的专利,旨在防止汽车乘客尤其是后座乘客出现晕车现象。这项专利由 CarBuzz 在欧洲专利局发现,它描述了车顶显示器(例如最新款 7 系列的 Theater Screen)如何帮助乘客在行驶过程中避免晕车。

IT 之家注意到,多年来汽车制造商和拼车公司一直在寻找解决晕车的方法,例如,大众汽车考虑过使用可移动座椅和 LED 灯条,捷豹也花了数年时间研究消除导致晕车的脑部混乱现象。
对于那些不晕车的人来说这似乎意义不大,但随着自动驾驶汽车越来越接近现实,晕车可能会变得更加普遍,即使是那些从未晕过车的人也可能会晕车,宝马希望做好应对准备。
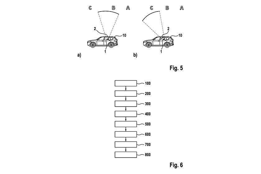
最简单的解决方案是使用全景玻璃车顶,与车窗相结合,应该足以向晕车乘客的大脑传达运动的效果。然而,由于宝马会使用一些吊顶显示器,玻璃车顶的作用就被减弱了。宝马的解决方案是让车顶看起来是透明的,对于配备可折叠吊顶显示器的汽车,可以通过现有屏幕上显示的图像来实现这一点,或者可以将图像投影到天花板上。


这两种方式都需要眼球追踪来确保图像匹配,而且一个显示器意味着后排只有一个乘客可以被照顾到。如果车里有不止一个晕车的人,虚拟现实和增强现实技术可以填补空白。
像这样复杂的系统需要多个传感器,宝马指出,吊顶显示器需要补偿汽车相对于天空的倾斜度、相对于固定天体(如太阳、月亮和星星)的速度和方向。摄像头可以捕捉汽车外部的图像并将其投射到这个车顶安装的屏幕上,宝马还可以使用 GPS、天气细节和天文数据来投射一个完全准确的图像。
这个概念看起来很有希望,但可能只有在自动驾驶汽车普及的时候才会推出。
科技热搜 喜马拉雅 天猫精灵 手表 设备 韭菜 新闻 资讯 直播 视频 美图 社区 本地 热点 2023-08-07
科技热搜 华为 芯片 余承东 华为mate 雷蒙 新闻 资讯 直播 视频 美图 社区 本地 热点 2023-09-29
科技热搜 华为mate google pixel oppo find x iphone 新闻 资讯 直播 视频 美图 社区 本地 热点 2023-11-17
娱乐热点 导演 a股 李产 股市 陈真 新闻 资讯 直播 视频 美图 社区 本地 热点 2024-01-18
娱乐热点 造型 韩国 尺度 中国人 穿着 新闻 资讯 直播 视频 美图 社区 本地 热点 2024-02-04
曾被卖出19万美元高价!这台初代iPhone太猛了
科技热搜 2024-03-13
科技热搜 2024-03-13
科技热搜 2024-03-13
科技热搜 2024-03-13
科技热搜 2024-03-13
科技热搜 2024-03-13
科技热搜 2024-03-13
科技热搜 2024-03-13
科技热搜 2024-03-13
科技热搜 2024-03-13