IT 之家 3 月 11 日消息,虽然微软 Surface Duo 系列双屏手机产品线已经淡出人们视线,不过最近微软公布了编号为 "US-20240069605" 专利,该专利描述为 " 一种折叠屏脊椎盖板装置 ",申请公布日为 2024 年 2 月 29 日。

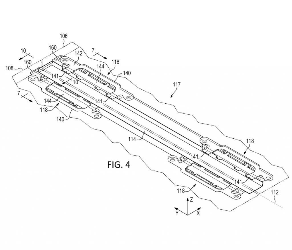
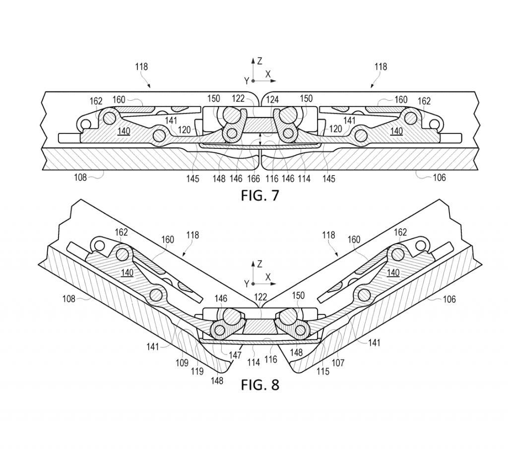
IT 之家整理摘要信息得知,相关专利图展示了保护内置铰链的所谓 " 脊椎盖板 " 组件,当手机折叠时,脊椎盖板可以向设备的内部铰链机制拉近自己,这使得整个设备能够设计得更薄,更容易握持。

▲ 图源 微软专利(下同)



另据 IT 之家此前报道,有消息称微软已经取消 Surface Duo 3 开发,将推折叠屏和直板手机,而前微软 Windows 和设备部门负责人帕诺斯・帕奈(Panos Panay)在离职后,更有传言称 "Surface Duo、Surface Studio 和 Surface Headphones 在可预见的未来不会推出新产品 "。

▲ 微软推出的 Surface Duo 系列产品并未推出国行版本
如今微软很有可能专为开发折叠屏设备 "Surface Phone",但至于这款全新的 "Surface Phone" 是否能够发布,何时发布,IT 之家将持续关注相关进展。
科技热搜 喜马拉雅 天猫精灵 手表 设备 韭菜 新闻 资讯 直播 视频 美图 社区 本地 热点 2023-08-07
科技热搜 华为mate google pixel oppo find x iphone 新闻 资讯 直播 视频 美图 社区 本地 热点 2023-11-17
科技热搜 华为 芯片 余承东 华为mate 雷蒙 新闻 资讯 直播 视频 美图 社区 本地 热点 2023-09-29
娱乐热点 造型 韩国 尺度 中国人 穿着 新闻 资讯 直播 视频 美图 社区 本地 热点 2024-02-04
娱乐热点 导演 a股 李产 股市 陈真 新闻 资讯 直播 视频 美图 社区 本地 热点 2024-01-18
曾被卖出19万美元高价!这台初代iPhone太猛了
科技热搜 2024-03-13
科技热搜 2024-03-13
科技热搜 2024-03-13
科技热搜 2024-03-13
科技热搜 2024-03-13
科技热搜 2024-03-13
科技热搜 2024-03-13
科技热搜 2024-03-13
科技热搜 2024-03-13
科技热搜 2024-03-13